Iklan 300x250

42 ford escape parts diagram

Despite all the posts, articles and podcasts claiming that r/westworld was ruining Westworld by revealing everything, the show still managed a few major twists in E10 that - to the best of my knowledge (speaking as a compulsive theory-reader) - nobody managed to predict: * Ford let himself be killed to start the new narrative * The maze isn't a real place or a map of a brain - it's a children's toy (used as a diagram, but still a children's toy) * Nobody killed Logan - he was just pushed away... 28.10.2021 · I was hoping that someone would have access to a diagram of the 2 door MIC ... Well-Known Member. First Name Dustin Joined Dec 7, 2020 Messages 370 Reaction score 670 Location MA Vehicle(s) 2004 GTO M6 2004 Escape Bronco Badlands Oct 28, 2021 #2 Any chance there are ... but Ford/Webasto put the wrong latch on the driver side and I ...

​ On November 13, 1997, a new casino opened its doors just south of North Carolina's Great Smoky Mountains. Despite the dismal weather, a long line had formed at the entrance. and as people continued to arrive by the hundreds, the casino boss began advising folks to stay at home. The widespread interest was hardly surprising. After all, it wasn't just some shifty mafia-run gambling den opening its doors that day. Harrah's Cherokee was and still is a massive luxury casino owned and op...

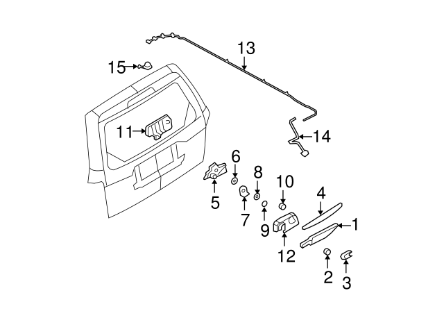
Ford escape parts diagram

Ford escape parts diagram

This happened a little while ago and can't figure out who was at fault. No contact was made, but part of me thinks I should've taken steps to make sure it hadn't happened at all. [Here is a little "diagram" I drew up](http://imgur.com/a/DpS6yUz) I had come to take a left turn into a side street that is one block down from a street light. I had arrived just a bit too late to turn before the wave of cars came, so I sat and waited for a full cycle. During this time, a blue Ford Escape came out fro... Hi everyone! I was scoping out the undercarriage of my Ford Escape today and notice it looked like oil was leaking from the big silver brick in the middle. I can’t seem to find a diagram to figure out what this is. Does anyone know what this part is and possible how much it would cost to fix and/or if it’s a serious problem. Thank you! [Ford Escape undercarriage ](https://imgur.com/gallery/MIQAl6y) Period: 28.87 days ||Submissions|Comments| :-:|--:|--: __Total__|860|10122 __Rate (per day)__|29.78|319.75 __Unique Redditors__|172|2752 __Combined Score__|210943|97403 --- ###Top Submitters' Top Submissions 1. 28506 points, 108 submissions: /u/_Sunny-- 1. [[4288 x 2848] USS Oriskany was laid down in 1944 and sunk in 2006 to create an artificial reef.](https://i1.yuki.la/1/1d/e16897e21a65d73e6b9e84d30e422d9aec0b3819ff171b261f45e20b47a871d1.jpg) (3235 points, [174 comments](/comments/js5497))...

Ford escape parts diagram. # Assassin's Creed: Civil War The story for this game would take place between 1856 and 1865, following a black slave-turned-Assassin named Jonah Davis as he helps turn the tide of the American Civil War towards the Assassins. By assassinating key Templar-Confederate generals, participating in major battles, and uncovering Pieces of Eden and a Precursor Vault, Jonah is the key to all the events occurring in both 1865 and 2021... ​ **Backstory** The main character, named Jonah Davi... I had spinal fusion surgery in at 16 in 2003 on my thoracic spine in Austin, TX for an "S" curve. After surgery, my bottom spine straighened slightly and hasn't increased in curvature. Luckily, I was in shape prior to surgery - active in yoga and aerobics, so healing wasn't too difficult, but I had terrible muscle spasms. I refused morphine/pain killers due to unpleasant side effects. I was prescribed PT, massage, and chiropractors. All of them gave temporary relief but just couldn't make a de... Buy Genuine OEM Ford Parts Online at discount prices for your Ford Escape. All Ford Parts come with a 2 year unlimited mile Ford Manufacturer warranty. This is not meant to be a whole story, more a writing prompt. I wrote it to inspire others to write about the same type of thing or at least to think about some of the issues it brings up… I know there are tense and grammar issues, I wasn't going to post this yet but I recently shared it with someone publicly so I thought I should get it out there with my name on it : P Isolation 08/22/2048 1532 1Y 1M 22D Impact alarms sounded all over the ship, the emergency lights flickered with each hit....

Here is my OC Axel Ford and his hatsu: Lucky Deck. I've posted a rough idea for this before but decided fix some stuff and post again. Let me know what you guys think. **Name: Axel Ford** **Occupation:** Cult Hunter **Nen Type:** (Its probably a mix of Emission, Conjuring and a bit of Manipulation) **Background:** For most of his childhood, Axel spent most of his time learning the family business of repairing air ships, playing card games with his parents and hunting with his older brothers... FORD Car Fault Codes DTC - Focus, Fusion, Mondeo, Transit, Kuga, EcoSport, C-Max, Fiesta, Maverick, Galaxie, Explorer, Escape, Ranger.. FORD Common Faults P0000 Code P0000 means that no errors were detected in the memory of the control unit P1000 EOBD system not tested before use. The P1000 code does not indicate a malfunction, but indicates a self-tuning EOBD. Looking to buy Ford Escape parts online? Visit Parts Geek to get the best deals on new OEM and aftermarket Ford auto parts and accessories. ... Catalog: E ... Ford escape remote start install. FordPartsGiant . Ford Transit 2020-2021. 9 out of 5 stars. Ford escape remote start Oct 26, 2021 · 2013-2016 Ford Escape Plug And Play Remote Start 3x Lock Diy Easy Install 2016 Ford Escape Ford Escape Remote Start . high quality cheap sale 2017-18 Ford Escape Easy Install Remote Start Plug and Play Original Fob FO1C store deals -ecowas.

Results 1 - 15 of 10000 — Our aftermarket catalog of Ford Escape parts and accessories is the most complete online. Save money and time with our low price ... Rating: 4.7 · ‎17 votes · ‎$67.99 to $429.99 · ‎In stock We've Got Genuine OEM Ford Escape Parts and Accessories At Wholesale Prices With Fast, Affordable Shipping. Order Online Or Call 1-800-248-7760 To Order By ...May 22, 2013 · Uploaded by Blue Springs Ford Parts Looking for free Ford wiring diagrams? Here you go. As these are the free wiring diagrams, they are not full version but they are part and parcel of owning a Ford car. These wiring diagrams are very handy when it comes to fixing an alternator, replacing a radio, repairing a car stereo, changing a tail light or adding an extra spotlight. Looking for the best Ford Escape aftermarket replacement parts? Replacing worn and broken parts on your Ford Escape? Check out our online catalog to find the ...

30.10.2014 · Ford F-150: Fuse Box Diagram. Whenever you run into an electrical problem, the fuse box is the first place to look. Here is everything you need to know about fuses in your Ford F-150 truck.

**World** We don't know when or where Westworld takes place, on earth or off earth, or how far in the future. We know nothing about civilization, government or current events outside of Westworld except capitalism still exists. We don't know if host technology or general advanced AI is available outside of Delos Destinations. We don't know if human consciousness can be extracted and encoded, and if it can be downloaded to a host. We don't know if there is really a moon in Westworld's sky. ...

Where can I get self-repair and technical information for my Ford? The Motorcraft ® Service website has a variety of resources for self-repair and technical information. To get started, visit the Motorcraft Service website and select your location.. Service Info.You can get a …

Fast Delivery. When it comes to new Escape OEM parts at the lowest prices, we've been the top choice for decades. Our complete online catalog covers all Ford ...

I see in posts here and in various commentary discussion on whether Caleb is a host. In addition to my own findings, here is a summary: (feel free to verify/correct/add in the comments. It would be great if we could compile the discussion here in a single post......) He is a host: 1. The most important evidence: the seconds before Caleb's first scene, we see the circular black inky ring which recurs a few times with different information. The text reads 'Anomaly Detected: Los Angeles US'. Subt...

Terms and Conditions of Use. The Ford Parts online purchasing website ("this website"or "FordParts.com"€ ) is brought to you by Ford Motor Company ("FORD") ...

The electronic catalog Ford ETIS 12.2016 contains information on diagnostics, repair and maintenance of cars and vans from Ford eTIS. Complete information on repair, TSB, detailed repair of engines and all transmissions. This is the last of the Ford Etis releases to include ALL off-line wiring diagrams.

HBO’S West world is hit TV show. West World is also a psychological commentary about Transhuminism, Gnosticism, and the bi cameral mind. It is adapted from Michael Crichton’s 1973 motion picture by Jonathon Nolan and Lisa Joy. I would like to look at the history of the human mind, and how these religious elements, along with Carl Jung’s interpretation of alchemy, have made a bridge into a brave new world. My hope is that by using the shows dialogue, the cast and crews past works, and Easter egg...

Period: 28.87 days ||Submissions|Comments| :-:|--:|--: __Total__|860|10122 __Rate (per day)__|29.78|319.75 __Unique Redditors__|172|2752 __Combined Score__|211059|97342 --- ###Top Submitters' Top Submissions 1. 28503 points, 108 submissions: /u/_Sunny-- 1. [[4288 x 2848] USS Oriskany was laid down in 1944 and sunk in 2006 to create an artificial reef.](https://i1.yuki.la/1/1d/e16897e21a65d73e6b9e84d30e422d9aec0b3819ff171b261f45e20b47a871d1.jpg) (3234 points, [174 comments](/comments/js5497))...

Some FORD Car Owner's Manuals, Service Manuals PDF & Wiring Diagrams are above the page - Fiesta, EcoSport, Figo, Focus, Granada, Taunus, Mustang, Ranger, RS200, Mondeo, Taurus, Sierra, Aerostar, Bronco, Crown Victoria, E-250, E-450, Escape, F-550, Transit, Aspire, C-MAX, E-150, E-350, Escort, F-650; Ford Car Fault Codes DTC.. Henry Ford founded the company in 1902, having on …

Movie|Year ---|--- The Phantom Carriage|1921 The Last Laugh|1924 A Page of Madness|1926 The Crowd|1928 Steamboat Bill, Jr.|1928 The Circus|1928 The Passion of Joan of Arc|1928 The Cameraman|1928 People on Sunday|1930 Animal Crackers|1930 The Blue Angel|1930 Tabu: A Story of the South Seas|1931 The Scarlet Empress|1934 The Thin Man|1934 Toni|1935 Mutiny on the Bounty|1935 Bride of Frankenstein|1935 A Night at the Opera|1935 The Only Son|1936 Fury|1936 Mr. Deeds Goes to Town|1936 Dodsworth|1936 To...

In Western art history, Mise en abyme is a formal technique of placing a copy of an image within itself, often in a way that suggests an infinitely recurring sequence. In film theory and literary theory, it refers to the technique of inserting a story within a story. The term is derived from heraldry and literally means "placed into abyss". It was first appropriated for modern criticism by the French author André Gide.A common sense of the phrase is the visual experience of standing between two ...

From Wikipedia, the free encyclopedia Jump to navigationJump to search This article is about the cat species that is commonly kept as a pet. For the cat family, see Felidae. For other uses, see Cat (disambiguation) and Cats (disambiguation). For technical reasons, "Cat #1" redirects here. For the album, see Cat 1 (album). Domestic cat[1] Cat poster 1.jpg Various types of domestic cat Conservation status Domesticated Scientific classification e Kingdom: Animalia Phylum: Chordata Class: Mammalia O...

I am helping my roommate fix their 2010 Ford escape AC. Its the V6 AWD trim. Basically, the AC doesn't blow cold. I started off by testing/charging the refrigerant. After that didn't seem to make a difference I put all of the AC controls to max fan/cold/AC and waited to see if the AC compressor would kick on. It didn't, so i went about testing the clutch and the AC clutch relay. I tested the battery voltage with that car on and it sits at the spec 14.5v. Checked the 10A fuse (good). I removed th...

For both OEM and aftermarket Ford Escape replacement parts, our inventory is the place to look. In fact, we have components for every part of your Escape, from ...

15.05.2018 · 2016 Ford Escape Serpentine Belt Diagram for 2.5L 4-cyl. Gates Serpentine Belt- P.S K040535 Alt. Decoupler Pulley; W/O Power Point Plug 37200P . 2016 Ford Explorer Serpentine Belt Diagram for 2.3L 4-cyl. Alt. & W.P. K040539 A.C. K040346SF . 2016 Ford Explorer Serpentine Belt Diagram for 3.5L V-6. Gates Serpentine; W/O H.D. Alt. K060448 Gates ...

In [_Unsong_](http://unsongbook.com/) chapter ["Interlude ד: N-Grammata"](http://unsongbook.com/interlude-%D7%93-n-grammata/) (9 March 2016), the protagonist Aaron concludes off the Name of God and the shortest version of it, 'H', that: > ...And “he” corresponds to the English letter H. H is for hydrogen, the very beginning of the periodic table, the building block out of which everything else is made. H is the fundamental unit of matter in the universe. H, the saying goes, is a colorless od...

The Ford Escape is known for its exceptional safety features, pleasant interior, and superb handling, which was further enhanced in the 2020 redesign. Image source: Ford Top Ford Escape Problems. Despite being a reliable SUV, the Ford Escape does have some common problems, depending on its model year. Here are the most well-known issues:

For the last few months I have had pressure issues inside the cabin of my Ford Escape. No matter which vent combination I use or fan level I use I only get little to no pressure from any of the vents. Since it is winter I require the windshield defrost. I can stress that the fan spools up and does in fact create the pressure, but it feels and sounds stuck behind the dash. When selecting various vents to open or close I hear a quick click and nothing more. Vents that are closed tend to remain ...

EDIT: Better picture of hose: http://imgur.com/W6jqtZN While I was removing an old corroded fuel filter, part of the hose connector broke off and stayed on the fuel filter. After getting the new fuel filter on, I tried to re-pressurize just in case it still made a seal, but it started leaking fuel everywhere, so I obviously need a replacement. I've tried to figure out what this part is but I can't seem to find a diagram with a part number listed. Here is the hose that needs to be replaced. I...

Ford Escape Body Parts. Mirrors; Headlights; Tail Lights; Bumpers; Fenders; Hoods; Grilles; Doors; Quarter Panels; Trunks & Tailgates; Interior Parts ...

Period: 28.87 days ||Submissions|Comments| :-:|--:|--: __Total__|860|10122 __Rate (per day)__|29.78|319.75 __Unique Redditors__|172|2752 __Combined Score__|210943|97403 --- ###Top Submitters' Top Submissions 1. 28506 points, 108 submissions: /u/_Sunny-- 1. [[4288 x 2848] USS Oriskany was laid down in 1944 and sunk in 2006 to create an artificial reef.](https://i1.yuki.la/1/1d/e16897e21a65d73e6b9e84d30e422d9aec0b3819ff171b261f45e20b47a871d1.jpg) (3235 points, [174 comments](/comments/js5497))...

Hi everyone! I was scoping out the undercarriage of my Ford Escape today and notice it looked like oil was leaking from the big silver brick in the middle. I can’t seem to find a diagram to figure out what this is. Does anyone know what this part is and possible how much it would cost to fix and/or if it’s a serious problem. Thank you! [Ford Escape undercarriage ](https://imgur.com/gallery/MIQAl6y)

This happened a little while ago and can't figure out who was at fault. No contact was made, but part of me thinks I should've taken steps to make sure it hadn't happened at all. [Here is a little "diagram" I drew up](http://imgur.com/a/DpS6yUz) I had come to take a left turn into a side street that is one block down from a street light. I had arrived just a bit too late to turn before the wave of cars came, so I sat and waited for a full cycle. During this time, a blue Ford Escape came out fro...

0 Response to "42 ford escape parts diagram"

Post a Comment

Iklan Atas Artikel

Iklan Tengah Artikel 1

Iklan Tengah Artikel 2

Iklan Bawah Artikel