Iklan 300x250

39 honda civic vacuum hose diagram

Honda Civic Vacuum Hose Diagram - Free Wiring Diagram Need vacuum hose diagram for 2000 honda civic 16 liter engine. I got a 99 honda civic si b16a2 and could anyone take some pics of the 2 holes. Honda civic vacuum diagram i have extra hoses left after an engine install for the life of me i cant figure out honda 1993 civic 4 door question. Honda Civic Vacuum Hose Diagram - Wiring Diagram Source If not leave a comment and i will investigate further. Cylvaccum hoses hooksthrotle body horn i have a 2008 honda civic ex 18l 4 cyl.

Vacuum hose diagram found !! - Honda Civic Forum These are 4 vac diagrams for a 1980 civic I believe. They can be used at least for reference for other years. Pay attention to the legend for engine and trans application.

Honda civic vacuum hose diagram

Honda civic vacuum hose diagram

How to diagnose an Overheating Condition - Radiator Hose - 2004... Diagnosis of Overheating Condition Due to a Faulty Radiator Hose on a 2004 Honda Civic.For more information on RepairSolutions® and available promotions... 30 Honda Civic Vacuum Hose Diagram - Wiring Diagram Database Vacuum Hose Diagram For 87 Civic Justrolledintotheshop. Image Result For 1997 Honda Civic Vacuum Hose Diagram Repair. 91 Civic Idles High Amp Low In Neutral Hondacivicforum Com. 2000 1 6el D16y8 Vacuum Leak Problem Honda D Series Forum. 35 Honda Civic Vacuum Hose Diagram - Wiring Diagram List A vacuum diagram shows in detail where are the air lines go on a car. You can also find other images like honda wiring diagram honda par...

Honda civic vacuum hose diagram. SOLVED: 1991 honda accord heater hose diagram - Fixya SOURCE: vacuum hose routing diagram honda accord 1987. 2answers. Vacumm hose diagram for 1987 honda accord. You did not clarify which motor you have. Here are both diagrams. 28 Vw Passat Vacuum Hose Diagram - Wiring Diagram Niche Volkswagen Vacuum Diagram Home Wiring Diagrams Launch Goal. Vw passat 28l vacuum connections top view fig. This specific impression vacuum diagram. Vaccum leaks volkswagen passat t 4cyljul 10 august 16 yup i was right. First if you just block off the vacuum hose to the broken... Honda Civic electrical wiring diagram honda-civic-electrical-wiring-diagram.pn. Portable Network Image Format 45.5 KB. Some HONDA Car Manuals PDF & Wiring Diagrams above the page - Civic, CR-V, Fit, Ridgeline, S2000, Accord, Odyssey, Element, Pilot; Honda Car EWDs. 2002 Honda Civic Vacuum Hose Diagram S? Vacuum Hose... 1998 honda civic vacuum hoses i require a diagram to number out where the two vacuum ports walk on my honda 16l it has actually aftermarket throttle body intake and also exhuast inquiry by bkildow. Because vacuum circuits will certainly vary based upon various engine and also vehicle options...

91 Honda civic si vacuum hose Browse and Download 92 Honda Civic Vacuum Diagram ... 91 honda civic wiring diagram PDF ... wiring diagram for 2009 honda civic si PDF. Vacuum hoses on a 91 CRX w/ B16 swap - Honda-Tech. Honda Civic Vacuum Hose Diagram - Atkinsjewelry I got a 99 honda civic si b16a2 and could anyone take some pics of the 2 holes. I too need a vacuum hose diagram but for a 86 honda civic 1... 1999 Honda Civic Radiator Hose Diagram - Honda Civic Image Result For 1997 Honda Civic Vacuum Hose Diagram. Signs Your Radiator Cap Needs To Be Replaced. D16y8 Vacuum And Coolant Routing Clubcivic Com Honda. 95 Civic Radiator Fan Not Running Hondacivicforum Com. Leaky Heater Core Hose Replacement Honda Accord Fix It Angel. vacuum hose diagram - Honda-Tech - Honda Forum Discussion I am looking for the vacuum hose diagram that is located on the underside of the hood of a 1992 Honda Accord EX. Do you need the diagram for refrence? or do you want a new decal? The sticker itself can be purchased from honda.

Honda Civic Service Repair Manuals and Wiring (PDFs) Download Honda Civic Service Repair and Maintenance Manual for free in pdf and english. 2006-2011 Honda Civic Service Repair Manual and Wiring Diagram. This is a complete Service Manual contains all necessary instructions needed for any repair your vehicle may require. Honda — Электросхемы Для Автомобилей Wiring Diagrams HONDA by Year. Civic Honda CR-V Honda Element Honda Fit Honda Insight Honda Odyssey Honda Passport Honda Pilot Honda Prelude Honda Ridgeline Honda S2000. 26 1998 Honda Civic Heater Hose Diagram - Wiring Database 2020 Honda civic 4 door lx ka 4at ac hoses pipes inside honda civic 1998 engine diagram image size 1108 x 553 px and to view image details please click the image. Here is a picture gallery about honda civic 1998 engine diagram complete with the description of the image please find the image you need. Vacuum Hose: E46 Vacuum Hose Diagram Vacuum Hose Diagram For A 2003 Pontiac Vibe - Mg-s.de This vacuum hose diagram for a 2003 pontiac vibe belongs to the soft file book that we provide in this on-line website. manual repair guide honda cbr900rry fireblade 2000 werkstatt handbuch bmw e46 service owners manual lg ...

Honda Civic Service Manual - Intake Manifold Removal and ...

Honda Civic Service Manual - Intake Manifold Removal and ...

Honda Civic Wiring Diagrams 734 Honda Civic Workshop, Owners, Service and Repair Manuals. Updated - December 21. We have 734 Honda Civic manuals covering a total of 46 years of production. In the table below you can see 3 Civic Workshop Manuals,0 Civic Owners Manuals and 21 Miscellaneous Honda Civic downloads.

SOLVED: There is no vacuum diagram under the hood on my - Fixya

SOLVED: There is no vacuum diagram under the hood on my - Fixya

Honda Civic Replacement Brake Lines & Hoses - CARiD.com Keep your Honda Civic's brake system safe and leak free. We have direct fit replacements for original brake hoses, and you can upgrade to stainless steel lines. Brake Hose by Dorman®. Direct replacement Hydraulic Brake Hoses are designed to fit specific vehicle applications and positions.

Vacuum Hoses: I Need a Diagram to Figure Out Where the Two ...

Vacuum Hoses: I Need a Diagram to Figure Out Where the Two ...

98 Civic Vacuum Diagram - myprofile.telegram.com Vacuum Hoses: I Need a Diagram to Figure Out Where the Two. Just Now Get Free 98 Civic Vacuum Diagram vacuum leaks How To Solve Honda Idle Problems - EricTheCarGuy Pcv valve replacement on 1997 Honda civic How To Find A Vacuum Leak - EricTheCarGuy 2000 Civic si idle...

2008 Mini Cooper S Vacuum Hose Diagram - Novocom.top

2008 Mini Cooper S Vacuum Hose Diagram - Novocom.top

35 Honda Civic Vacuum Hose Diagram - Wiring Diagram List A vacuum diagram shows in detail where are the air lines go on a car. You can also find other images like honda wiring diagram honda par...

Vacuum Hoses: I Need a Diagram to Figure Out Where the Two ...

Vacuum Hoses: I Need a Diagram to Figure Out Where the Two ...

30 Honda Civic Vacuum Hose Diagram - Wiring Diagram Database Vacuum Hose Diagram For 87 Civic Justrolledintotheshop. Image Result For 1997 Honda Civic Vacuum Hose Diagram Repair. 91 Civic Idles High Amp Low In Neutral Hondacivicforum Com. 2000 1 6el D16y8 Vacuum Leak Problem Honda D Series Forum.

EMISSION PIPING (DIESEL) for Honda CIVIC 1.7S 5 Doors 5 speed ...

EMISSION PIPING (DIESEL) for Honda CIVIC 1.7S 5 Doors 5 speed ...

How to diagnose an Overheating Condition - Radiator Hose - 2004... Diagnosis of Overheating Condition Due to a Faulty Radiator Hose on a 2004 Honda Civic.For more information on RepairSolutions® and available promotions...

Anyone had the pleasure of working on an '87 Prelude? Vacuum ...

Anyone had the pleasure of working on an '87 Prelude? Vacuum ...

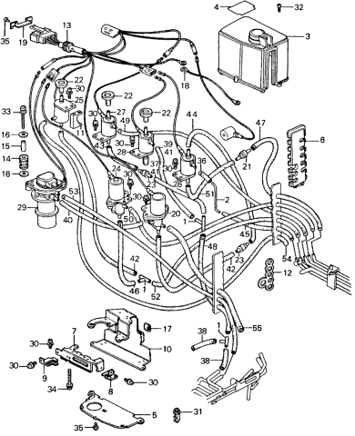
Honda CIVIC 1990 (L) 4DR EX (KA,KL) FUEL PUMP-TWO-WAY VALVE ...

Honda CIVIC 1990 (L) 4DR EX (KA,KL) FUEL PUMP-TWO-WAY VALVE ...

2003 Honda Civic Head Gasket and Timing Belt Replacement : 10 ...

2003 Honda Civic Head Gasket and Timing Belt Replacement : 10 ...

Hose diagram, help! - Honda Civic Forum

Hose diagram, help! - Honda Civic Forum

How to Find and Fix a Vacuum Leak - AxleAddict

How to Find and Fix a Vacuum Leak - AxleAddict

2001-2005 Honda Civic Hose Check EX 1.7L 4 Cyl. Coupe (2 Door)

2001-2005 Honda Civic Hose Check EX 1.7L 4 Cyl. Coupe (2 Door)

RE: Vacuum Connections, Page 11-8, Honda Factory Service ...

RE: Vacuum Connections, Page 11-8, Honda Factory Service ...

A close look at the nightmare 1980s Honda CVCC vacuum hose tangle

A close look at the nightmare 1980s Honda CVCC vacuum hose tangle

Innovation Discoveries - 1997 honda civic vacuum hose diagram ...

Innovation Discoveries - 1997 honda civic vacuum hose diagram ...

Help With Vacuum Hose Routing | Drive Accord Honda Forums

Help With Vacuum Hose Routing | Drive Accord Honda Forums

Honda CIVIC 1982 (C) 4DR1500 (KA,KH,KL) parts lists and ...

Honda CIVIC 1982 (C) 4DR1500 (KA,KH,KL) parts lists and ...

Junkyard Find: 1983 Honda Civic Wagon - The Truth About Cars

Junkyard Find: 1983 Honda Civic Wagon - The Truth About Cars

A close look at the nightmare 1980s Honda CVCC vacuum hose tangle

A close look at the nightmare 1980s Honda CVCC vacuum hose tangle

need hose diagram!!!!!! - Honda-Tech - Honda Forum Discussion

need hose diagram!!!!!! - Honda-Tech - Honda Forum Discussion

Civic EG View topic - How to do a Mini-Me swap

Civic EG View topic - How to do a Mini-Me swap

Close Up pic of top of D16Y8 intake mani vacuum lines - Honda ...

Close Up pic of top of D16Y8 intake mani vacuum lines - Honda ...

Fuel and Emissions System Description - Vacuum Lines | Honda ...

Fuel and Emissions System Description - Vacuum Lines | Honda ...

36185-PA6-901 - Genuine Honda Switch Assy., Vacuum

36185-PA6-901 - Genuine Honda Switch Assy., Vacuum

Junkyard Gem: 1989 Honda Civic DX Sedan with 308,896 Miles

Junkyard Gem: 1989 Honda Civic DX Sedan with 308,896 Miles

Run away screaming: 1985 Honda CVCC vacuum hose routing diagram

Run away screaming: 1985 Honda CVCC vacuum hose routing diagram

1975-1976 Honda Civic Bulk Hose, Vacuum (4.5X1000) 95005 ...

1975-1976 Honda Civic Bulk Hose, Vacuum (4.5X1000) 95005 ...

need help with my honda civic 1.7 CDTI | 2006+ Honda Civic Forum

need help with my honda civic 1.7 CDTI | 2006+ Honda Civic Forum

88-91 Civic / CRX B16A Vacuum Diagram (without dashpot valve ...

88-91 Civic / CRX B16A Vacuum Diagram (without dashpot valve ...

D16Y8 Vacuum and Coolant Routing | ClubCivic.com - Honda ...

D16Y8 Vacuum and Coolant Routing | ClubCivic.com - Honda ...

I'm needing all the locations(prefer a picture over a drawing ...

I'm needing all the locations(prefer a picture over a drawing ...

Honda CIVIC 1978 2DR1200 (KA) parts lists and schematics

Honda CIVIC 1978 2DR1200 (KA) parts lists and schematics

CV1500 selber zerstört - DUAL << Andere Hifi-Geräte und ...

CV1500 selber zerstört - DUAL << Andere Hifi-Geräte und ...

SOLVED: Is there a vacuum hose on a 1995 honda accord - Fixya

SOLVED: Is there a vacuum hose on a 1995 honda accord - Fixya

Vacuum Hoses: I Need a Diagram to Figure Out Where the Two ...

Vacuum Hoses: I Need a Diagram to Figure Out Where the Two ...

Junkyard Gem: 1989 Honda Civic DX Sedan With 308k Miles

Junkyard Gem: 1989 Honda Civic DX Sedan With 308k Miles

Any Honda parts guys out there? (Page 1) — Other Random Car ...

Any Honda parts guys out there? (Page 1) — Other Random Car ...

Turbo 99 Civic EX D16Y8 Vacuum Lines | Honda D Series Forum

Turbo 99 Civic EX D16Y8 Vacuum Lines | Honda D Series Forum

BLOX Racing Short shifter (single bend)

BLOX Racing Short shifter (single bend)

0 Response to "39 honda civic vacuum hose diagram"

Post a Comment

Iklan Atas Artikel

Iklan Tengah Artikel 1

Iklan Tengah Artikel 2

Iklan Bawah Artikel